Products Description
تم تصميم جهاز اختبار نزف الضغط لملاط الشد المسبق لقياس معدل النزف الناتج عن الضغط بدقة لمواد الحقن المستخدمة في قنوات الخرسانة مسبقة الإجهاد. وهو مزود بنظام تحميل دقيق يضمن نتائج موثوقة وعالية الدقة للاختبارات المخبرية والميدانية لمواد الحقن.
جهاز اختبار نزف الضغط لملاط الشد المسبق
الموديل: TDYJM-2
أولاً: مقدمة عن المنتج
يتوافق جهاز اختبار نزيف الضغط القياسي الجديد لمواد حقن قنوات الخرسانة مسبقة الإجهاد مع المواصفة القياسية JT/T946-2022، "اختبار مواد حقن قنوات الخرسانة مسبقة الإجهاد لهندسة الطرق السريعة".
المعايير المرجعية: EN 445، EN 447، ASTM C940/C940M
ثانيًا: المعايير الفنية
1. سعة أسطوانة الاختبار: 250 مل
2. القطر الداخلي لأسطوانة الاختبار: 40 مم
3. القطر الخارجي لأنبوب التصريف: 20 مم
4. طول أنبوب التصريف: حوالي 240 مم
5. شبكة الترشيح: 325 مش
6. مقياس الضغط: 0-1 ميجا باسكال
ثالثًا: إجراءات الاختبار
١. أدخل أنبوب التصريف المزود بشبكة الترشيح في فتحة مقعد الإحكام، ثم اربط الأسطوانة الفولاذية بمقعد الإحكام.
٢. صب ٢٠٠ مل من مادة الحقن المخلوطة جيدًا في وعاء مكبس الترشيح المُجمَّع بالكامل في الأسفل، وسجّل حجمه V0 بدقة تصل إلى ٠٫٢ مل.
3. ركّب غطاء الإحكام العلوي بإحكام، ثم ضعه عموديًا على الحامل، واتركه لمدة 10 دقائق. وصّل الطرف العلوي بالهواء المضغوط، وافتح صمام الهواء المضغوط، واضغط بسرعة إلى ضغط الاختبار.
4. بعد الحفاظ على ضغط الاختبار لمدة 5 دقائق، أغلق صمام الهواء المضغوط لتفريغ الضغط، ثم أمل القمع قليلًا للسماح بتدفق كل الماء الموجود في الجزء السفلي منه. سجّل حجم الماء (V1) بدقة تصل إلى 0.1 مل.
حساب واختيار قيم نتائج الاختبار: حساب معدل تسرب الماء الناتج عن الضغط
يُحسب معدل تسرب الماء الناتج عن الضغط وفقًا للمعادلة (D.1):
Myl=V1/v0x100%
(D.1)
حيث:
Myl - معدل نزف الضغط؛
V1 - حجم ماء النزف المُجمّع في وعاء التجميع، بالمليلتر (مل)؛
V0 - حجم مادة الحشو قبل الاختبار، بالمليلتر (مل).
تقييم نتائج الاختبار
تُعتبر نتيجة الاختبار هي المتوسط الحسابي لقياسين متتاليين، مسجلين بدقة 0.1%، وتُستخدم كمعدل نزيف الضغط لمادة الحقن.

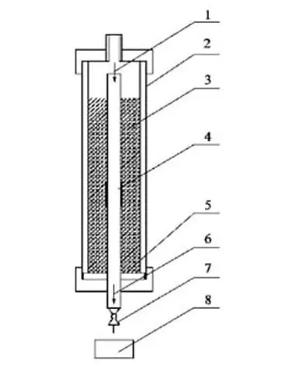
شرح الرموز/المكونات:
1. مدخل الهواء المضغوط
2. أسطوانة ترشيح الضغط
3. الهاون
4. أنبوب تصريف (مغطى بثلاث طبقات من فلتر 325 ميكرومتر)
5. حلقة مانعة للتسرب مطاطية
٦. ماء متدفق
٧. شبكة كروية
